“分流再生鼓风热吸附干燥机”成功获得国家知识产权局颁发实用新
【压缩机网】在当今日益流行的节能环保理念中,压缩空气作为工业“第四大能源”,其净化处理的能耗效率备受关注。广东凌宇能源设备有限公司作为压缩空气后处理领域的创新领导者,一直致力于通过核心技术突破,为客户创造更大的价值。
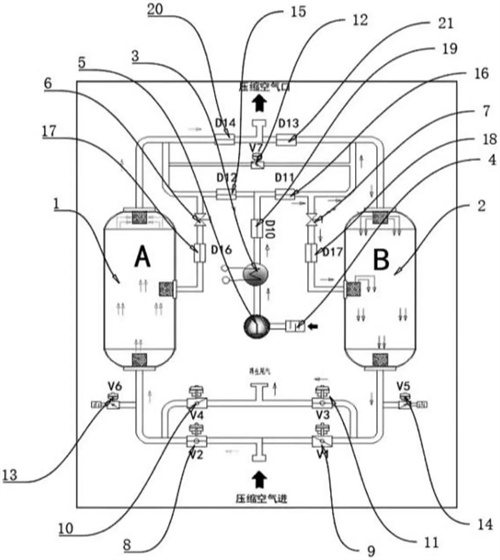
近日,公司创新研发成果再次得到国家权威认可——“分流再生鼓风热吸附干燥机”成功获得国家知识产权局颁发的实用新型专利证书(专利号:ZL202421768209.8)!这标志着凌宇在压缩空气净化和分离方面取得了另一个重要突破,为解决行业痛点、促进节能降耗提供了更好的解决方案。

聚焦痛点
传统鼓风热干燥的再生问题
由于其显著的节能特性(不需要昂贵的压缩空气再生),鼓风热吸附干燥机在市场上广受欢迎。然而,传统设计在实际操作中仍面临着一个关键挑战:再生不完全。这主要体现在:
01|再生阻力大,能耗高
单一气流路径导致吸附塔内再生气体流动阻力(压降)大,迫使鼓风机需要更高的功率运行,增加能耗。
02|底部再生困难,吸附剂容易硬化
由于吸附剂的传热性能有限,热量往往难以有效地传递到吸附塔的中下部。这导致底部吸附剂再生不足,水残留。长期积累会导致吸附剂“水硬化”,进一步增加气流阻力,形成恶性循环,甚至导致鼓风机过载烧毁。
03|影响露点的稳定性
再生不完全直接导致吸附剂动态吸附能力下降,干燥效果波动,压缩空气“压力露点”稳定性差,影响气端设备性能和产品质量
04|维修费用增加
板结后需要频繁更换吸附剂,增加了设备的维护成本和停机时间。
创新方案
分流再生,解决困境
凌宇获得的“分流再生鼓风热吸附干燥机”实用新型专利的核心创新点在于革命性的“再生气分流”设计,准确有效地解决了上述行业痛点。
双路并行,降低阻力:该技术创新地增加了原有再生通道中的一路再生气体通道。再生气流智能分为两种方式:
一路从吸附塔顶部进入传统路径,向下流动进行再生加热。
另一方面,通过专利设计的阀门和流量调节装置(如分流流量调节阀T1/T2)从吸附塔中部进入,同样向下流动进行再生加热。

创新方案
核心优势
01|压降明显降低,节能更好
双向并行设计显著增加了再生气体的有效循环面积,显著降低了气体的流动阻力(压降)。这意味着在达到相同的再生效果时,鼓风机所需的功率较低,能耗进一步降低,运行成本更具优势。
02|再生更彻底,消除板结隐患
从中间引入的第二种热再生气体直接作用于传统设计中难以到达的中下吸附剂区域。这确保了整个吸附床层(特别是底部)能够得到充分、均匀的加热和再生,水完全脱附排出,从根本上避免了水引起的硬化问题,大大延长了吸附剂的使用寿命,降低了维护成本。
03|提高露点稳定性和干燥效率
更彻底的再生意味着吸附剂始终保持在最佳工作状态,其动态吸附容量更稳定、更高。这使得干燥机能够继续输出更稳定、更低露点的干燥压缩空气,以满足更高的工艺要求。同时,中下部加热也有助于缩短整体再生加热时间,提高设备的运行效率。
04|提高系统的可靠性
消除吸附剂硬化的风险,保护鼓风机免受过载损坏,大大提高了设备的长期运行可靠性和使用寿命。
技术价值
实用高效,赋能客户
本实用新型专利技术是凌宇对鼓风热干燥技术的重要优化升级。它不是停留在理论层面,而是专注于解决实际应用中的关键问题,具有显著的实用性、经济性和环保性:
再次升级节能效益
在鼓风热干燥机能耗较低的基础上,通过降低鼓风机功耗,进一步优化能耗,为用户节省更多的运行电费。
保证稳定运行
延长吸附剂更换周期,降低耗材和维护成本。
维护成本较低
延长吸附剂更换周期,降低耗材和维护成本。
干燥质量更好
提供更稳定、更低露点的干燥空气,提高终端产品的质量和生产稳定性。
绿色环保
能耗降低意味着碳排放减少,积极响应国家“双碳”目标。
凌宇创新
继续引领节能净化技术
本专利是凌宇“技术支持、价值驱动”理念的生动体现,突出了公司在压缩空气净化分离领域节能、可靠、创新的领先实力。凌宇将继续创新,以卓越的品质走向“世界知名品牌”的愿景
